Mazda Rotary Engine Diagram


Mazda Readies New Turbocharged Rotary Engine Autocar

Mazda Readies New Turbocharged Rotary Engine Autocar

Rough Idle And Stalls Engine Performance Problem Two Wheel Drive

Rough Idle And Stalls Engine Performance Problem Two Wheel Drive

Engineering Explained The Pros And Cons Of Inline 5s V10s And

Engineering Explained The Pros And Cons Of Inline 5s V10s And


Mazda Readies New Turbocharged Rotary Engine Autocar

Mazda Readies New Turbocharged Rotary Engine Autocar

Rotary Engine Diagram Wankel Engine Automotive Engineering

Rotary Engine Diagram Wankel Engine Automotive Engineering

Mazda Flips Rotary Engine Shrinks It Down For Range Extender

Mazda Flips Rotary Engine Shrinks It Down For Range Extender

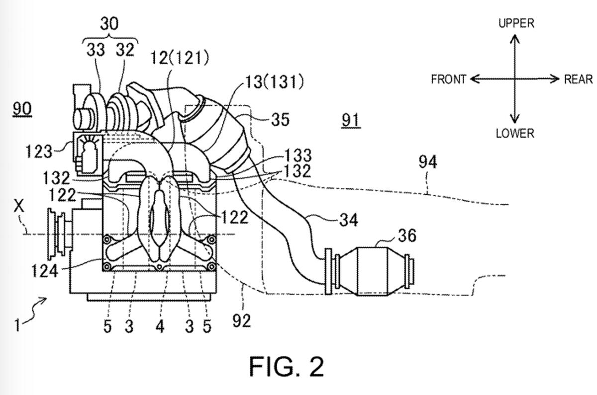
Mazda Patent Filing Reveals Awd Rotary Engine Hybrid

Mazda Patent Filing Reveals Awd Rotary Engine Hybrid

Mazda S Rotary To Spin Again Cars Co Za

Mazda S Rotary To Spin Again Cars Co Za

Mazda Rx 8 Questions 2007 Mazda Rx8 Cargurus

Mazda Rx 8 Questions 2007 Mazda Rx8 Cargurus

Road Test 2004 Honda S2000 Vs Mazda Rx 8 Vs Nissan 350z

Road Test 2004 Honda S2000 Vs Mazda Rx 8 Vs Nissan 350z

Aircraft Rotary Engine Diagram

Aircraft Rotary Engine Diagram

Mazda Wankel Rotary Engine How The Rotary Engine Works

Mazda Wankel Rotary Engine How The Rotary Engine Works