Two Stroke Engine Cycle Diagram


Achates Two Stroke Opposed Piston Engine Has 53 Thermal

Achates Two Stroke Opposed Piston Engine Has 53 Thermal

Function Of Two Stroke Cycle Diesel Engine

Function Of Two Stroke Cycle Diesel Engine

Why Is 2 Stroke Engines Having Ports While 4 Strike Having Valves

Why Is 2 Stroke Engines Having Ports While 4 Strike Having Valves


Unit 1 Internal Combustion Engines Types Of Engine 2 Stroke And

Unit 1 Internal Combustion Engines Types Of Engine 2 Stroke And

Two Stroke Cycle Engine

Two Stroke Cycle Engine

The Two Stroke Diesel Cycle Blackhatmarine

The Two Stroke Diesel Cycle Blackhatmarine

Https Inasim99 Files Wordpress Com 2018 01 Unit I Gas Turbine Pdf

Https Inasim99 Files Wordpress Com 2018 01 Unit I Gas Turbine Pdf

Diesel Cycle Wikipedia

Diesel Cycle Wikipedia

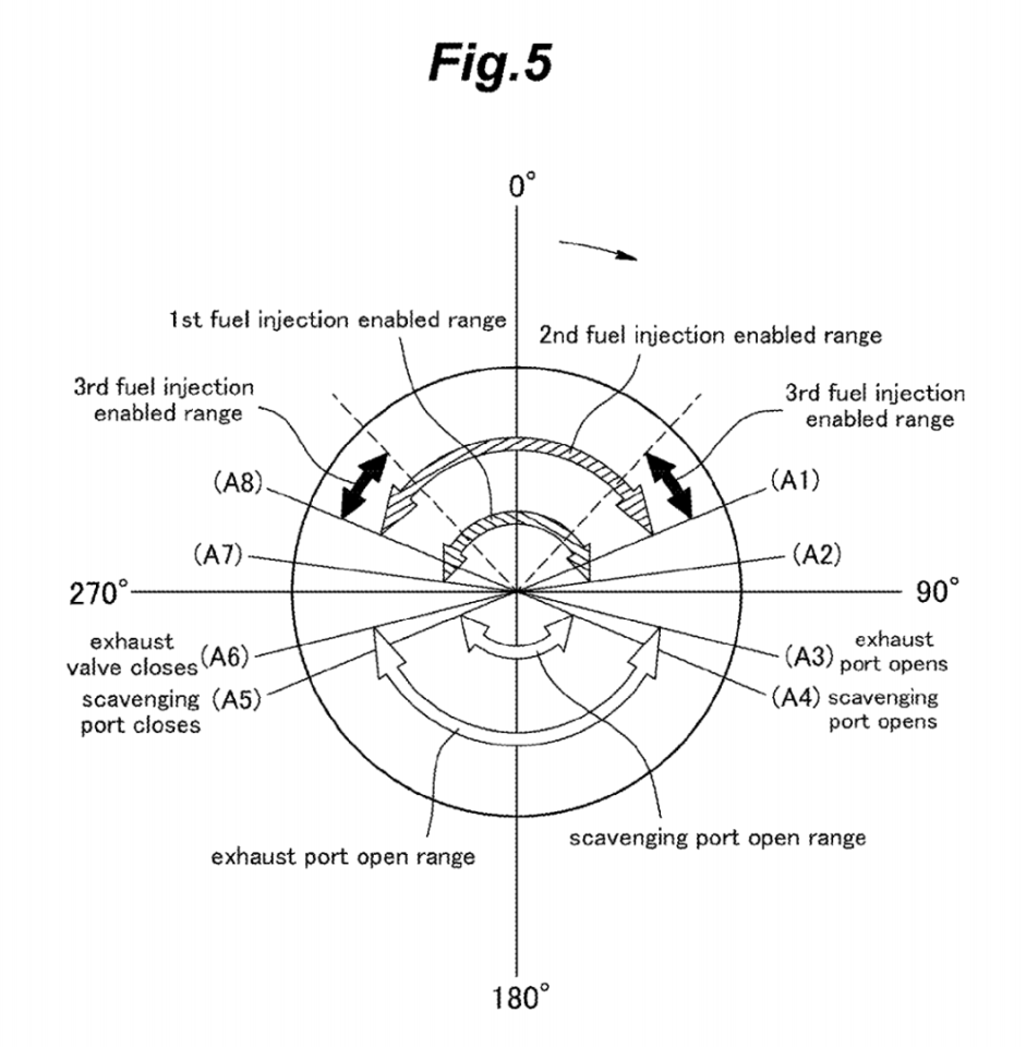
Honda Files Patents For Brand New Fuel Injected Two Stroke Engine

Honda Files Patents For Brand New Fuel Injected Two Stroke Engine

Basic Components Of A Two Stroke Engine With Images

Basic Components Of A Two Stroke Engine With Images

Https Encrypted Tbn0 Gstatic Com Images Q Tbn 3aand9gctta0s8xejtxxlzt Mxmiume3ky Pt06yj Ldnh04p2she7iqmxyhw28riqjkfh9 C Usqp Cau

Https Encrypted Tbn0 Gstatic Com Images Q Tbn 3aand9gctta0s8xejtxxlzt Mxmiume3ky Pt06yj Ldnh04p2she7iqmxyhw28riqjkfh9 C Usqp Cau

How Does A 2 Stroke Engine Work Cycle World

How Does A 2 Stroke Engine Work Cycle World